Save $20
on any order of $599+
Save $30
on any order of $999+
Save $50
on any order of $1499+
View All Coupon Codes
Contact Us For Pricing
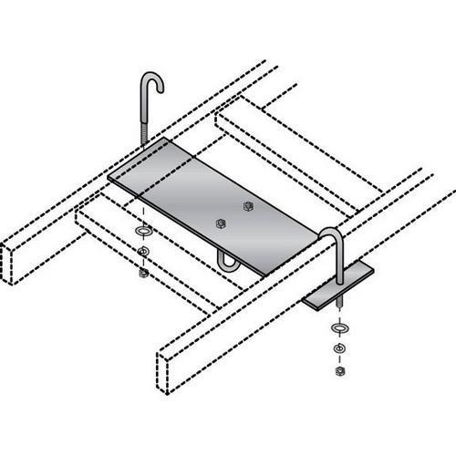
Black Box, RM665-R2, Rack-to-Runway Mounting Plate - Gray
Features:
We aim to show you accurate product information. Here you will find what the manufacturers have provided us with. See our disclaimer.
Note: Please read description carefully. Do not base your order on the picture presented.