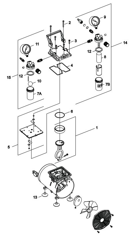
Welch 2522K-03 Service Kit for 2522 Pump

  • Brand Welch
  • Part # 2522K-03
  • Condition
    Brand New

We aim to show you accurate product information. Here you will find what the manufacturers have provided us with. See our disclaimer.

Notes

* Free Ground Shipping within the continental U.S. only (excludes Alaska, Hawaii, PO Boxes and APO/FPO addresses).