Save $20
on any order of $599+
Save $30
on any order of $999+
Save $50
on any order of $1499+
View All Coupon Codes
Contact Us For Pricing
Buy 50 х Pack of 2 pcs, Get 7% off
Save 7% each on Beta Tools 011910101 1191BM Flush Oblique End Cutting Nippers, (Pack of 2 pcs) when you purchase 50 or more
Buy 25 х Pack of 2 pcs, Get 5% off
Save 5% each on Beta Tools 011910101 1191BM Flush Oblique End Cutting Nippers, (Pack of 2 pcs) when you purchase 25 or more
Buy 10 х Pack of 2 pcs, Get 3% off
Save 3% each on Beta Tools 011910101 1191BM Flush Oblique End Cutting Nippers, (Pack of 2 pcs) when you purchase 10 or more
Buy 5 х Pack of 2 pcs, Get 1% off
Save 1% each on Beta Tools 011910101 1191BM Flush Oblique End Cutting Nippers, (Pack of 2 pcs) when you purchase 5 or more
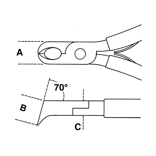
Beta Tools, 011910101, 1191BM Flush Oblique End Cutting Nippers with Bi-material Handles
We aim to show you accurate product information. Here you will find what the manufacturers have provided us with. See our disclaimer.
* Free Ground Shipping within the continental U.S. only (excludes Alaska, Hawaii, PO Boxes and APO/FPO addresses).
Note: Please read description carefully. Do not base your order on the picture presented.